山東風途物聯網科技有限公司
聯系人:杜經理
聯系電話:16652863761
QQ:2749609891
公司地址:山東省濰坊市高新區光電路155號光電產業加速器(一期)

PRODUCT
聯系人:杜經理
聯系電話:16652863761
QQ:2749609891
公司地址:山東省濰坊市高新區光電路155號光電產業加速器(一期)
產品型號:FT-WQX5B
產品價格:6800元
產品品牌:風途
一、一體化大氣環境傳感器產品簡介
一體化大氣環境傳感器又稱一體化負氧離子傳感器,一體化大氣環境傳感器是一款小巧美觀的微氣象儀,可以全天候24小時連續在線監測負氧離子、空氣溫度、濕度、PM2.5、PM10等氣象要素。山東風途物聯網科技有限公司作為專業研發生產銷售微型氣象儀的企業,一直致力于微型氣象儀和氣象環境解決方案推廣應用。具有完整的生產鏈、實力雄厚的技術團隊和全面的營銷團隊,我們研發生產的五要素微氣象儀、六要素微氣象儀和小型自動氣象站等氣象產品,已廣泛應用到氣象監測、城市環境監測、風力發電、航海船舶、航空機場、橋梁隧道等領域,客戶遍布全國各地,并取得了良好的社會效益和經濟效益。
FT-WQX5B型一體化大氣環境傳感器創新性地將負氧離子、空氣溫度、濕度、PM2.5、PM10等氣象要素通過一個高集成度結構來實現,可實現戶外氣象參數24小時連續在線監測,通過數字量通訊接口將五項參數一次性輸出給用戶。
二、一體化大氣環境傳感器產品特點
1、抗干擾能力強,具有看門狗電路,自動復位功能,保證系統穩定運行
2、高集成度,無移動部件,零磨損
3、免維護,無需現場校準
4、采用ASA工程塑料室外應用常年不變色
5、產品設計輸出信號標配為RS485通訊接口(MODBUS協議);可選配232、USB、以太網接口,支持數據實時讀取☆
6、可選配無線傳輸模塊,最小傳輸間隔1分鐘
7、探頭為卡扣式設計,解決了運輸、安裝過程松動不準的問題☆
三、一體化大氣環境傳感器技術參數
1、空氣溫度:測量原理二極管結電壓法,-40-60℃(±0.3℃)分辨率0.01℃;(北京市氣象局校準證書)
2、空氣濕度:測量原理電容式,0-100%RH(±3%RH)分辨率0.1%RH;(北京市氣象局校準證書)
3、PM2.5:測量原理光散射,0-1000ug/m3(±10%)分辨率1ug/m3
4、PM10:測量原理光散射,0-1000ug/m3(±10%)分辨率1ug/m3
5、負氧離子:測量原理圓筒式電極吸入式,0-10萬個/cm3(±10%)分辨率1個/cm3
6、功率:2.3W
7、生產企業具有ISO質量管理體系、環境管理體系和職業健康管理體系認證☆
8、生產企業具有計算機軟件注冊證書☆
9、生產企業為3A級信用企業☆
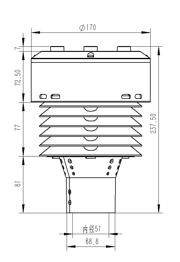
四、一體化大氣環境傳感器產品尺寸圖

五、一體化大氣環境傳感器產品結構圖

六、一體化大氣環境傳感器產品接線定義
| 定義 | 備注 | |
| VCC | 電源正 | DC12V |
| GND | 電源地 | |
| 485A | RS485A | |
| 485B | RS485B |
更新時間:2025-07-25
本文地址:http://m.jingruishiyun.com/qxhj/785.html風途科技氣象站
2022-02-14 15:08:19氣象環境監測系統介紹
2022-06-06 15:43:31高速鐵路公路網環境傳感器介紹
2023-01-06 17:08:07水庫自動氣象站價格是多少?
2023-12-28 15:24:22土壤墑情監測系統
2023-05-16 13:53:33一體化微型氣象站:關于微氣象的監控
2024-03-04 17:06:10金屬款六要素氣象傳感器FT-WQX6A
2023-03-15 17:20:47氣象傳感器品牌推薦
2022-07-21 16:08:29數一數,自動氣象站上有多少傳感器?
2022-08-09 16:50:59六要素微氣象儀技術參數
2022-12-15 18:25:42